摘要:
结合本次供上海某供电局UPS供电系统改造工程实例,着重介绍了大中功率UPS输入、输出配电规范性的重要性及改造中应注意的细节问题。
一、概述
上海某供电局UPS供电局,负责上海某区的电力调度及监控,该供电局自启动数字化监控系统以来,前后经过两次UPS供电扩容改造,因负载容量逐步扩大,此次系统将进一步扩容,并对原有系统配电进行改造。同时由于设计施工不规范,系统存在重大隐患, 此次扩容需一并解决。
1. 原系统配置
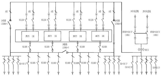
如图一所示:该供电局配置两路市电,分别由交流进线屏1和交流进线屏2向UPS供电,两个交流进线屏间由一个手动切换屏,可以进行切换。1#UPS和2#UPS为M品牌的15KVA 1+1并机系统,3#UPS为A品牌UPS,设计容量为15KVA。交流进线屏1向3#UPS和2#UPS供电,交流进线屏向1#UPS供电。
2. 系统存在的几个重大缺陷
a. 1#UPS和2#UPS组成并机,但是分别由进线屏1(市电1)和进线屏2(市电2)分别供电,造成UPS转旁路时,并机系统会存在两路市电,造成短路,严重威胁整个系统安全。
b. 由于1#UPS和2#UPS的交流输入分别来自不同回路的市电,可能出现其中一路交流输入故障,致使一台UPS工作于正常状态,另一台工作于后备状态,造成两套UPS逆变输出并机环流增大,负载均分误差增大,引发UPS故障。
c. 如图二所示,整个存在一个共同的维修旁路(由K10、K11、K12组成)。由于三台UPS的交流输入分别来自不同两路市电,,所以存在不同市电回路短路的危险,真正维护时也无法实现不停电维护。同时也存在因人员操作,引起短路的危险。

图一、系统结构图

图二、原系统内部走线示意图
二、客户需求
1. 对现有UPS系统进行扩容,移除原有的3#UPS,新增两台30KVA UPS组成1+1并机,并对现有配电屏进行改造。
2. 合理投资方案,同时减少占地面积。
3. 設置一个共同的维护旁路,要求4套UPS能够同时维护检修。
4. 在系统中留出一定余量的配置,供以后扩展需求。
- 1
- 2
- 3
- 总3页
来源:台达
http:www.cps800.com/news/2010-2/20102411431.html


